皮帶輸送機下行調偏機構通常使用的是換槽位的方法,即在底部托輥支架上設置三個槽,通常情況下運輸帶托輥應卡在中間的槽內,但當膠帶機發生跑偏需調校時,則應先停車并開展一系列的相關停電操作后,再用千斤頂將下部調偏托輥頂起來,然后將其從中間槽內抬起來,根據需要放入左槽或右槽內來完成調偏動作,這種偏方式受托槽數量及間距的影響,往往不能夠達到預期的調偏效果,并且存在著程序復雜、耗時長、人員消耗多影響帶式輸送機械運行的等等弊端;
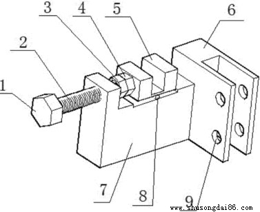
坤碩橡膠輸送帶廠家為了解決目前行業內所存在的皮帶輸送機下行托輥調偏效率低的問題,自主開發出了一種快速便捷型輸送機托輥的調偏裝置來滿足工況用戶的使用需求,此機構主要包括了一端帶有凸出的支撐塊、固定件、托輥卡槽、調節絲杠等組件,在固定件上設有皮帶機架卡槽,上部設有固定螺孔,在支撐塊上同樣布置有托輥卡槽,調節絲杠穿過支撐塊的凸塊,并與其卡槽相互連接,此種托輥調偏裝置安裝在膠帶輸送機機架的兩側,托輥兩端分別卡在其卡槽內,這樣通過轉動調節絲杠使得卡槽來回移動以實現對而托輥位置的調節;

具體操作方式如下:首先判斷需要調整的方向,我們可以假設需要向左移動,用工具比如扳手等來固定住套在絲杠右側的自鎖螺母后,按逆時針方向用扳手擰絲杠左端螺母,下行托輥組就會隨著絲杠的移動慢慢向左方移動,反之則向右方移動,當其調整到適當位置時,先將其螺母擰緊幾圈后,再觀察其運轉情況,若仍跑偏則再次重復第二步操作,直到橡膠輸送帶不發生跑偏為止;
在帶式輸送機運行中橡膠帶調偏過程安全、快速、高效,非常適用于各種規格輸送機下行托輥的快速調校,使用效果極佳,與傳統的調偏方式相比:坤碩輸送設備廠家創新出的此種方法可使輸送皮帶在運行中隨時調偏且只需一人即可獨立操作,具有簡捷實用、安全系數高、人員消耗少和無附加故障影響等優點,適宜在工業運輸帶跑偏嚴重的工況中推廣使用,對提高皮帶機運行效率、避免停機調偏影響傳送帶運行的問題,滿足了用戶們不同運行作業現場的高效調偏需求;
河北保定坤碩輸送帶廠家更多實用動態信息歡迎您關注我們!
上一篇: 橡膠輸送帶最簡便安全的更換方法
下一篇: 輸送帶熱硫化接頭的快速操作方式