在行業中現有的鋼絲繩芯輸送帶產品所用到的拉帶機構,主要包括有前托輥、牽引裝置、拉伸裝置、主動輥、從動輥、夾持裝置以及后部托輥,前輥位于牽引裝置的前方,其后方為拉伸裝置,從動輥則位于主動輥的下方,主動輥的正后方為夾持裝置,能夠夾持的部分是從后側與主動輥的配合,后托輥布置于從動輥的正后方,這種牽引裝置的主動輥與夾持裝置所處的位置均高于從動輥與后托輥所處的位置,在牽引力的作用下,鋼絲繩帶經過前托輥及牽引裝置后到達拉伸裝置,經拉伸后,再繞經主動輥,在與夾持裝置的共同作用下,將鋼絲輸送帶送至從動輥,繞經從動輥后繼續傳送,由于牽引裝置、主動輥、夾持裝置均在皮帶輸送機設備的中上部,會導致從動輥與后托輥位于皮帶機機體的下部,橡膠帶的輸出位置接近地面,工業運輸帶產品在此處存積,拉帶、倒卷及開卷的效率低下,又會給后續工位造成不良影響;
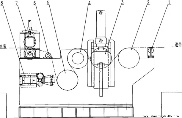
坤碩鋼絲繩輸送帶生產廠家為解決行業技術中鋼絲帶拉帶裝置所存在的諸多不足,同時為提供用戶的操作效率,自主研發出一款鋼絲繩芯輸送帶專用便捷型拉帶及倒卷機構,主要包括前托輥、牽引裝置、拉伸裝置、主動輥、從動輥及夾持裝置,首先將前托輥布置于拉伸裝置的前方,在其正后方增設從動輥,從動輥的后下方為主動輥,主動輥的正后方為夾持裝置,在從動輥與牽引裝置之間設置有后托輥,其中從動輥、后托輥與牽引裝置所處的位置均需高于主動輥與夾持裝置所處的位置,在牽引裝置、主動輥及夾持裝置的作用下,鋼絲帶經過前托輥及過渡輥后到達拉伸裝置,經其拉伸后,繞經從動輥,到達主動輥后再折向后托輥處,并經牽引裝置向后續傳送;

通過此種方式的優化創新,能夠有效地避免業內現有技術中橡膠皮帶存積的現象,提高了用戶在現場對鋼絲繩輸送帶制品在開卷、倒卷、拉帶等操作上方面的工作效率;
專業橡膠帶生產廠家-河北坤碩工業運輸帶制造公司竭誠為您服務!
上一篇: 新型固定式皮帶輸送機效率更穩定
下一篇: 輸送帶廠家低價格皮帶輸送機推薦