在煤炭裝運過程中,皮帶輸送機是承擔煤炭轉運的重要裝置,但是由于煤炭中經常摻雜著各種雜質,而這些雜質往往會在特定的部位,主要是在溜槽的落料點附近對橡膠帶造成損傷,輕則會造成輸送皮帶撕邊、鋼絲繩芯斷裂,重則會造成運輸帶橫向斷裂,甚至是長距離的縱向撕裂,同時完全去除煤炭中的雜質也是幾乎辦不到的,所以一旦發生撕裂故障,瞬間能夠及時檢測到并能停止驅動電機運行就變得非常重要,因為這樣就可以控制工業橡膠輸送帶的最小撕裂損失,同時縮短修復時間和減少修復費用,以保障生產作業任務的順利完成;

現有的撕裂探測裝置主要是由導電硅橡膠和檢測開關組成,主要原理是當有異物觸碰導電硅橡膠條時,檢測開關做出動作發出撕裂信號,此種裝置造價昂貴且極易損壞,同時只能更換不能進行修復,維護成本極高,根據行業數據統計,可以發現橡膠輸送帶產生撕裂以后的表現形式多種多樣,主要為以下幾種現象:抽條、斷絲、縱向撕裂、橫向斷裂、層疊等,而現有的檢測裝置只是針對特定狀況下的特定位置發生的撕裂進行檢測,并不能完全涵蓋尼龍橡膠帶等發生撕裂后的多種表現形式,因此現有的運輸帶撕裂檢測裝置不能完成對故障的完全適時檢測;

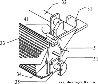
針對以上問題可以通過能夠完成適時檢測、并且根據落煤量而進行分級檢測的橡膠帶撕裂檢測裝置來實現,其結構為:輸送皮帶設置在架體支撐的托輥上,在作業線的回程膠帶上設有多個回程落煤撕裂檢測機構,檢測機構包括與架體相連的擺動支座,支座上設有活動連接的擺動軸,轉輥通過掛架與擺動軸相連,并且在擺動軸的端部設有與擺動接近開關相配合的擺動檢測片,接近開關與可編程控制器進行相連,由于此套機構可以設置在輸送機作業線的任何回程位置,所以通過在多處的設置,可有效及時發現運輸帶撕裂的現象,此套系統中還設計了轉動和擺動檢測的兩級化探測結構,可將檢測結果適時地反饋到控制器中,所以更具有故障報警清楚、易于現場及時地發現故障和排除故障的行業優勢;

在實際使用中,可沿著阻燃輸送帶的作業線將多個回程落煤撕裂檢測機構按一定間距均勻或分散布置,并設置在回程輸送皮帶的上方,通過調節長度調節裝置,使得尼龍托輥與回程膠帶之間有一較小的間隙,并通過調整該間隙的大小,可從整體上來實現檢測的靈敏度;
當橡膠帶撕裂發生時,如果回程落煤如果較多,當其從本發明的下方通過時,將直接頂動尼龍轉輥及其掛架,使其沿回程的反方向擺動,擺動軸此時帶動檢測片轉動一定角度,此時便會產生自動報警的信號,如果撕裂時落煤較少,則落煤在本發明的裝置下方通過時,在摩擦力作用下,不斷帶動尼龍轉輥進行旋轉,轉動檢測片將使轉動接近開關不斷產生脈沖,而且接近開關均與編碼器相連,所以此時程序開始計數,當計數超過設定值時遍產生了報警信號;
中國專業皮帶輸送機生產廠家,為您提供保障設備安全運轉的一體化技術方案,河北保定工業區坤碩橡膠輸送帶生產廠家竭誠為您服務!
上一篇: 高強度節能降耗型托輥是如何制作的?
下一篇: 弧線皮帶輸送機是怎樣實現過渡的?