當前現狀:通常在港口以及造船廠所使用的承載鋼絲繩輸送帶的托輥組在使用過程中會由于磨損過快,基本三個月需要更換一次,有時在裝卸輪船貨物的過程中發生故障時,則要需幾個小時進行處理,嚴重影響卸船效率,發生的故障主要為以下幾點:
1、皮帶托輥表面磨損過快,磨損嚴重,表面磨穿甚至磨斷;
2、托輥端面與托輥支架摩擦,導致軸承座套脫落;
3、托輥被鋼絲繩打變形彎曲;
4、輸送帶支架受力向內彎曲變形與托輥端面摩擦;
5、托輥支架的卡口磨損失效,不能固定輥軸,使其發生跳動;

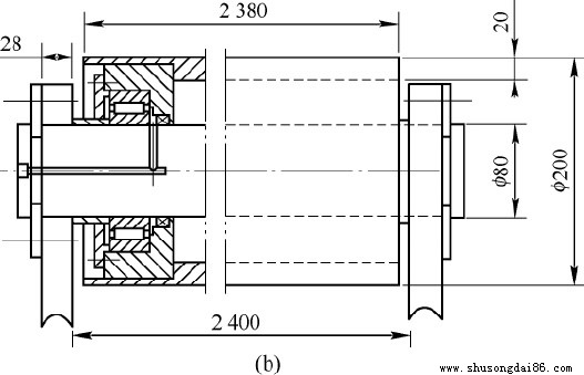
發生原因:通過以上故障的現場調查分析其原因可歸納為:皮帶輸送機設備供應企業的托輥選型不當,輥輪承載面直徑、軸承直徑、承載面厚度三個參數選型都過小,承載面直徑過小、托輥轉速高、磨損快,軸徑過小、軸承座設計不實用、抗沖擊能力不足,受到較大的沖擊力、會發生彎曲變形,承載面厚度過小、容易磨穿或磨斷、導致使用壽命縮短,另外支撐架剛度不夠,受作用力時會產生偏向托輥端面的變形趨勢,導致與之發生摩擦;托輥的安裝位置不合理:其主要作用是托起和防跳,阻止鋼絲繩輸送帶從機房口進出時與窗口上下鋼板的摩擦,對于托起鋼絲繩皮帶的托輥,鋼絲繩皮帶進出都需要與之產生摩擦,安裝位置過高,摩擦嚴重,磨損速度快;對于防跳托輥,安裝位置過高,鋼絲繩膠帶跳動的范圍大,沖擊力就大,也會將托輥打彎;其他的設計安裝細節有問題:皮帶機托輥的主軸在支架上的安裝定位不夠穩固,卡口的磨損失效,輥子端面與支架的間隙太小,支架發生變形后與端面產生摩擦;

解決方案:坤碩工業輸送帶廠家推薦:以上用戶的設備存在嚴重的設計缺陷,不能適應生產的需要,需重新設計,從根本上解決存在的問題,托輥選型及支架厚度的確定要加大托輥軸徑、承載面直徑、承載面厚度的尺寸,軸承座的設計應采用更加牢固、抗沖擊力強的方案,選用圓柱滾子軸承代替深溝球軸承,提高抗沖擊能力;通過更換規格后,在機械設備的同樣位置起同樣作用的托輥組在使用中表現良好,使用三年,除了托輥表面有一定的正常磨損外,沒有其他故障,從沒修理或更換過,其中皮帶輸送機支架沒有任何變形,輥軸的固定方式牢靠,沒有松動;

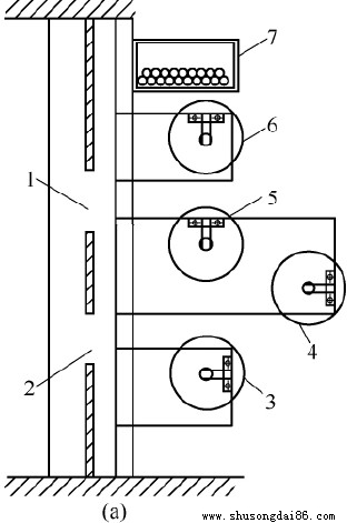
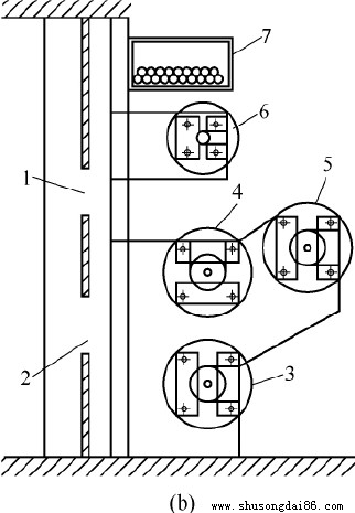
托輥安裝位置的確定:適當的安裝效果應該是將下面托住鋼絲繩輸送帶的托輥,在皮帶下降時盡量往下,在起升時,由于鋼絲繩輸送帶是張緊繃直的狀態,最好不要碰到托輥,只允許偶爾輕微的接觸摩擦,上面的防跳托輥,在輸送帶起升時不接觸的條件下盡量往下,以減小橡膠帶跳動的范圍,坤碩輸送設備公司考慮到承載托輥更換次數多,而防跳托輥基本不用更換,確定可將支撐托輥表面下降十幾毫米,可以很大程度上減少了皮帶機托輥與鋼絲繩輸送帶之間的摩擦,防跳托輥組同樣降低高度距離后,可使鋼絲繩皮帶的跳動范圍減小,從而減少了沖擊力;

使用效果:托輥的磨損明顯減小,達到了正常的磨損速度,沒有彎曲等變形,工作中托輥轉動平穩,無跳動,噪聲小,鋼絲繩輸送帶上升時,基本不與下托輥接觸,支架牢靠沒有變形、開焊、軸端固定牢固可靠,卡口沒有磨損松動等現象,達到了超乎預期效果,大幅度為用戶們降低了更換成本;
坤碩重型輸送帶生產廠家更多技術知識為您推薦:
《自動調心托輥的工業化應用優勢》、《鋼絲繩輸送帶的損壞形式》
上一篇: 皮帶機滾筒和輸送帶之間打滑怎么辦?
下一篇: 工業運輸帶中間托輥長度選用須知